网兜的运用

发布时间:2019-02-22 07:34:41
MPV型车辆和SUV型车辆一般都具有较大的行李箱储物空间,可以用于存放各种各样的物品。但是当行车过程中车速变化或颠簸的情况下,行李箱存放的物品容易上下窜动或前后滑动,物品之间会相互撞击,同时物品也会撞击内饰板,不仅物品和内饰板易损坏,而且由于撞击产生的异响,影响乘坐舒适感。因此MPV和SUV的行李箱一般设置有网兜,将存放在行李箱的物品固定。
 
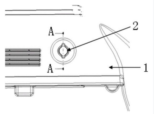
如图1所示为现有技术网兜固定结构的分解图,网兜固定结构包括固接于内饰板01的底座02和旋钮挂钩03组成,旋钮挂钩通过转动将卡接结构滑接于底座凹槽内,与底座固定。
 
现有技术的网兜固定结构存在如下缺点:
 
1、网兜固定结构由底座和旋钮挂钩两部分组成,需要两副注塑模具,经济性较差。
 
2、安装网兜固定结构需先将底座卡接在内饰板上,然后转动旋钮挂钩,将旋钮挂钩固定于底座上,装配程序繁琐,效率较低。
 
3、网兜固定结构通过卡接固定,强度较差。
 
网兜的运用